f-certificado-eu

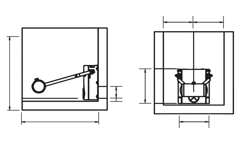
AquaREGULO CA 10 a 460 l/s

Regulador de caudal con flotador.

APLICACIONES

El regulador de caudal AquaREGULO se adapta para la regulación de caudales en redes unitarias y separativas.

El regulador de caudal AquaREGULO con control axial garantiza un caudal constante, con una variación de ± 5% y un tiempo de respuesta corto.

  • Funcionamiento mecánico basado en el análisis del nivel de agua mediante un brazo flotador que controla el movimiento de la compuerta.
  • Sección de flujo «circular» para minimizar el riesgo de obstrucción.
  • Fabricado en acero inoxidable AISI 304 L.
  • Modelo con control axial.
  • Suministrado con un kit de estanqueidad y de fijación mediante anclajes extensibles de inox 316 L.
  • Equipo ajustado en fábrica.
  • Compacto: control axial, ocupa poco espacio en la instalación.
  • Fiabilidad: buena precisión (5 %) en la curva de control.
  • Modelo adaptado para grandes avenidas de agua.
  • Fácil de instalar: kit de estanqueidad y de fijación incluidos.
  • Curva de respuesta hidráulica disponible bajo presupuesto.
  • A medida: se puede adaptar a proyectos específicos.
  • Montaje y puesta en marcha – AquaMO.

*Aqua Resmat se reserva el derecho a modificar las medidas. Documento no contractual. Los datos y valores se dan como indicación y pueden ser modificados sin previo aviso.

Es siempre necesario la confirmación de planos por parte del Cliente.

IMPLANTACIÓN

Instalación

Sobre un mural de hormigón plano y vertical, avellanar los agujeros del marco siguiendo las guías. Poner la junta de estanqueidad en la placa del AquaREGULO. Después de realizar cada perforación, poner la placa extensible sin bloquear la tuerca. Verificar que el equipo funciona correctamente.

Mantenimiento

Ver ficha de instalación y de mantenimiento.

Accesorios

¿En qué podemos ayudarte?

Si tienes dudas, necesitas más información o quieres pedir presupuesto, escríbenos y te responderemos lo antes posible.

Selecciona una de las categorías de productos.

Solicitar Presupuesto para

AquaREGULO CA 10 a 460 l/s

Solicitar Catálogo de

AquaREGULO CA 10 a 460 l/s